<【股票配资网站】>国内多家新兴车企成造车新势力,长城华冠溢价77%定增15亿?【股票配资网站】>

最近几年,国内出现了多家专注研发新能源汽车的新兴车企,人们将这些企业称为“造车新势力”。
“造车新势力”的代表有蔚来汽车、小鹏汽车、威马汽车等,贾跃亭的法拉第未来(FF)也属于这一范畴。
在新三板也有一家挂牌的“造车新势力”企业长城华冠()。近日,长城华冠发布了新的股票发行方案,这是公司挂牌以来规模最大的一次定增。
溢价77%定增
12月7日,长城华冠发布了2018年第二次股票发行方案。公司拟以10.75元/股的价格,发行不超过1.4亿股,预计募集资金不超过15亿元。
长城华冠预计,本次募集资金中,7亿元将用于公司项目建设,5.2亿元用于补充流动资金,2.8亿元用于偿还债权融资。
长城华冠目前采用做市转让,今天的收盘价为6.55元/股,而截至2018年11月30日前二十个有成交的交易日,长城华冠成交均价为6.08元/股。据此计算,长城华冠此次增发溢价达76.8%。
这也是长城华冠2018年以来第二次增发,今年7月,长城华冠以每股10.6元的价格,发行8462.1万股,募集资金约8.97亿元。
这次发行认购对象包括南京新港华清新能源汽车产业投资合伙企业(有限合伙)、南京丰盛大族科技股份有限公司两名机构投资者。
截至本次定增公告发布之日长城华冠股票行情,长城华冠前次募集资金余额约为2亿元。
除了2018年的两次发行外,2016年(以取得股份登记函时间为准),长城华冠也先后进行了三轮定增,募资总金额达6.23亿元。这些资金主要用于补充流动资金,归还银行贷款以及用于项目研发、建设投入等。
算上此次的15亿元,长城华冠在新三板募资总额已经超过30亿元。

长城华冠2016年定增情况
长城华冠此次预计募资金额为15亿元,在今年新三板公司定增额中排在第三,仅次于壹玖壹玖及杉杉能源。
壹玖壹玖今年10月18日发布的发票发行方案,其拟募资上限为20亿元,目前正处于实施阶段;杉杉能源募资金额同为20亿元,已经实施完成。
新能源汽车已量产
长城华冠主要从事汽车整车设计及电动汽车研发、生产和销售,2015年9月在新三板挂牌。
2015年2月12日国内多家新兴车企成造车新势力,长城华冠溢价77%定增15亿?,长城华冠于出资6亿元设立全资子公司前途汽车(苏州)有限公司,该子公司的主要任务就是负责新能源汽车的研发、生产和销售。
从长城华冠近年来的定期报告,可以勾勒出公司在新能源汽车方面的大致进展。
2017年12月,前途汽车苏州工程生产线投入使用,长城华冠旗下首款量产车“前途K50”开始小批量试生产。
2018年4月4日,前途汽车获得工信部同意设立纯电动乘用车生产企业批复,正式成为纯电动乘用车生产企业。
长城华冠2018年半年报则显示,今年6月30日,“前途K50”已经正式量产下线;8月8日,“前途K50”已正式上市销售。
在前途汽车官网上也可以看到,其产品定位为“纯电动城市跑车”,“K50”官方售价为75.43万元,算上国家补贴和地方补贴后的价格为68.68万元,综合工况下的续航里程为380公里。

相比之下,蔚来汽车首款量产车“ES8创始版”补贴前售价为54.8万元,综合续航里程为355公里。
长城华冠表示,公司计划在高性能运动型跑车/轿车、小型乘用车及大中型乘用车三个平台,共计推出多款车型。
不过,与头部“造车新势力”相比,长城华冠的单次募资额度及总体募资规模并不算高。
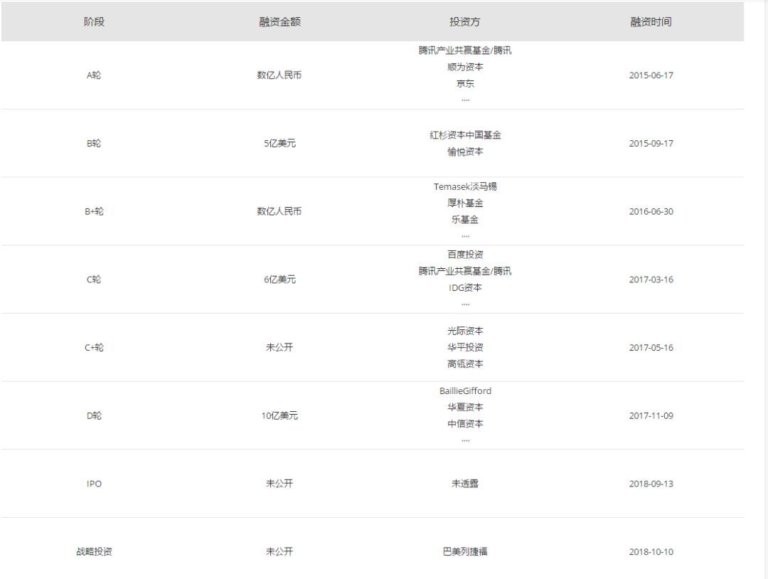
以蔚来汽车为例,创业邦资料显示,蔚来汽车目前已经获得至少8轮融资,其中2017年11月发生的D轮融资,单次融资额就高达10亿美元。

蔚来汽车融资情况(创业邦)
另一家“造车新势力”小鹏汽车,自2015年以来也获得了至少9轮融资,其中今年7月完成的一轮融资金额达7亿美元,今年1月完成的一轮融资金额也达22亿元。
按照今天的收盘价计算,长城华冠的总市值为45.72亿元,相比之下,在美股上市的蔚来汽车最新市值超过70亿美元。
亏损持续扩大
众所周知,造车是个花钱的事,长城华冠此前的经营规模并不算大,在涉足整车制造后,亏损便不断扩大。
2017年,长城华冠实现营业收入1.28亿元,较上一年度增长35.46%;净利润为-2.26亿元,较上一年度减少129%。
公司表示,净利润下降主要是因为公司正处于新能源汽车整车及核心零部件生产制造的战略投入期,净利润减少系持续加大投入所致。


长城华冠2018年上半年财务数据
今年以来,长城华冠的亏损还在扩大。2018年前三季度,长城华冠营业收入7914万元,扣非后净利润为-3.82亿元,亏损已经远远超过2017年全年。
由于新能源汽车在2018年下半年才上市销售,因此,截至2017年,长城华冠的主要收入来源依然是汽车设计。
2017年长城华冠汽车设计服务收入9498万元,占营业收入的比重为74%,模具制作收入为2696万元,占收入的21%,数据销售收入为573万元,占比4.47%。
不过,与持续亏损不同的是,长城华冠截至2018年6月30日,现金及现金等价物余额尚有9.52亿元。另外,对于新能源汽车行业的未来,长城华冠也十分看好。
长城华冠引用自中国汽车工业协会的资料显示,2017年我国新能源汽车产量为79.4万辆、销量为77.7万辆,同比分别增长53.8%和53.3%,连续三年位居世界第一。
长城华冠表示,前途汽车计划在小型车平台和中型车平台上分别开发3至5款成型产品,未来几年,前途汽车将有8至10款产品陆续上市。
号外!!~~
长按下方二维码,添加微信号
拉你进“新三板论坛交流群”



